原标题:青岛社保医保银行三合一!46项业务可到银行办理!
“社保、医保、银行三合一”
青岛实行经办服务新模式
46项社保、医保业务
可到银行办理了!
从市人社、医保部门获悉,经过一个月的试运行,2020年1月6日,青岛市首批经办社保医保联合业务的50个银行网点将正式对参保单位和参保人开放,届时有46项社保、医保业务可到银行网点办理。
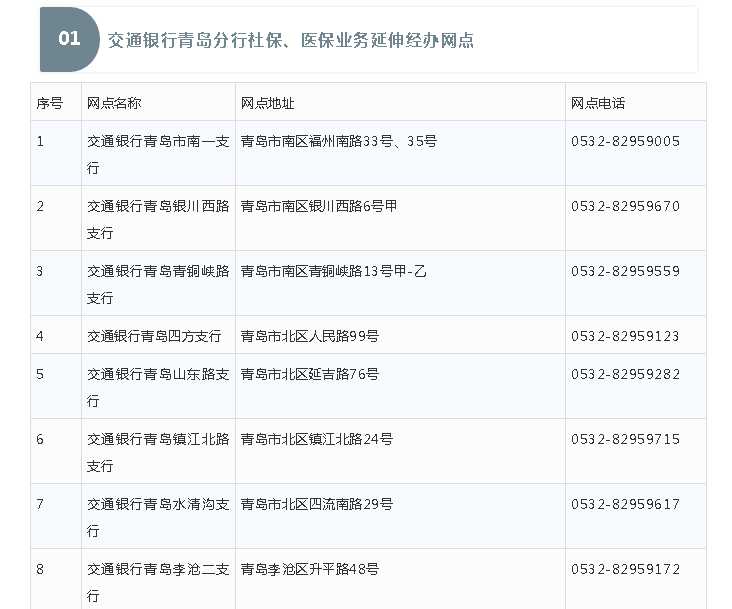
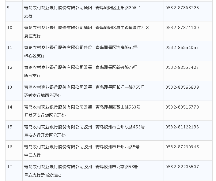
首批全市范围内首批试点有20家交通银行网点和30家农商银行网点。社保、医保银行延伸服务主要包括:
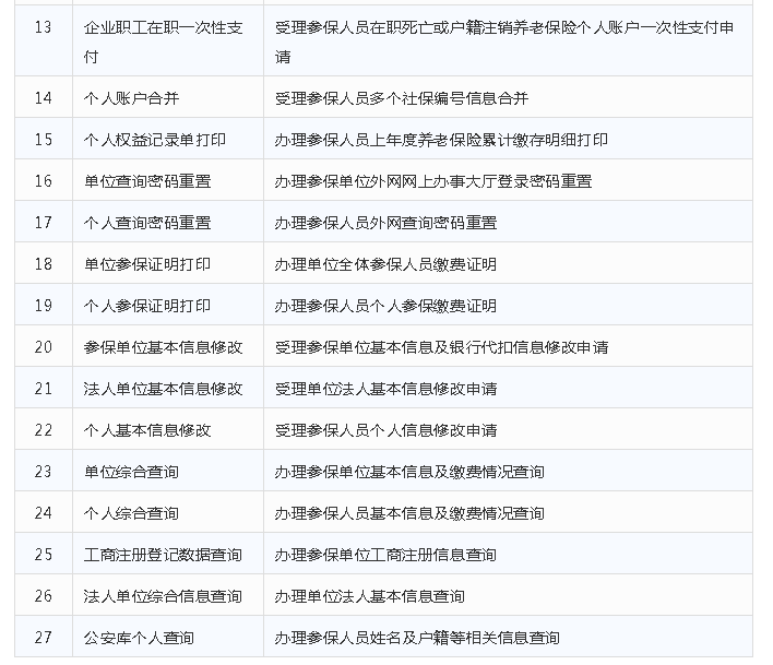
✪企业职工参保登记、续保、停保、业务查询、基数申报、个人权益记录单打印、个人基本信息修改、个人查询密码重置等27项社保、医保公共业务项目;
✪养老保险参保凭证或临时账户联系函及通知书打印、职工养老保险关系转入等3项职工社保业务;
✪医疗参保凭证打印和职工医疗保险关系转入2项职工医保业务;
✪居民养老人员参保登记、参保信息修改等5项居民养老业务;
✪居民医疗保险参保登记、人员转入和转出等10项居民医疗业务。
今后参保单位和参保人办理以上社保、医保业务,可就近选择交通银行和农商银行的网点办理。
据了解,为深化我市“一次办好”改革,进一步提升社保、医保经办服务的便民化水平,打造便民服务“社保十分钟”服务圈,市社会保险事业中心和市医疗保障事业中心共同与交通银行青岛市分行、青岛市农商银行合作试点,打造“社保、医保、银行三合一”经办服务新模式,银行网点均采取线上+线下服务模式,线下设立专门的社保医保联合业务经办区域,经办窗口以及经办专员,线上利用三方系统联通数据共享实现自助设备办理,充分利用商业银行网点多、分布广、网络设备资源充足和服务标准化等优势,实现城乡社保医保业务经办服务延伸,让数据多跑路、参保单位和参保人少跑腿。
为让参保单位和参保人获得良好的服务体验,市社保和医保经办机构与合作银行建立了长期的业务培训和指导机制,定期对银行网点的业务专员进行政策与经办操作培训,同时还将在试点基础上不断扩大合作银行和网点数量以及延伸业务的范围,为参保单位参保人提供更加便捷高效的服务。
社保、医保业务延伸银行办理
网点名称和业务种类
延伸银行办理的社保、医保业务
项目和内容






银行网点信息






(来源 青岛市人社局官微)
[来源:青岛晚报 编辑:三人目]大家爱看