搜索
信网手机版移动继续看新闻

首都医科大学附属北京友谊医院病历管理违规被罚4万元

官网截图(来源:首都医科大学附属北京友谊医院官网)

信网2月10日讯 近日,首都医科大学附属北京友谊医院因未按规定填写、保管病历资料等,被北京市西城区卫生健康委员会依法查处。

行政处罚决定书显示,北京市西城区卫生健康委员会依据《医疗纠纷预防和处理条例》第四十七条第(四)项,对首都医科大学附属北京友谊医院作出以下行政处罚:警告;罚款40000元。

《医疗纠纷预防和处理条例》第四十七条规定,医疗机构及其医务人员有下列形之一的,由县级以上人民政府卫生主管部门责令改正,给予警告,并处1万元以上5万元以下罚款;情节严重的,对直接负责的主管人员和其他直接责任人员给予或者责令给予降低岗位等级或者撤职的处分,对有关医务人员可以责令暂停1个月以上6个月以下执业活动;构成犯罪的,依法追究刑事责任:(四)未按规定填写、保管病历资料,或者按规定补记抢救病历。

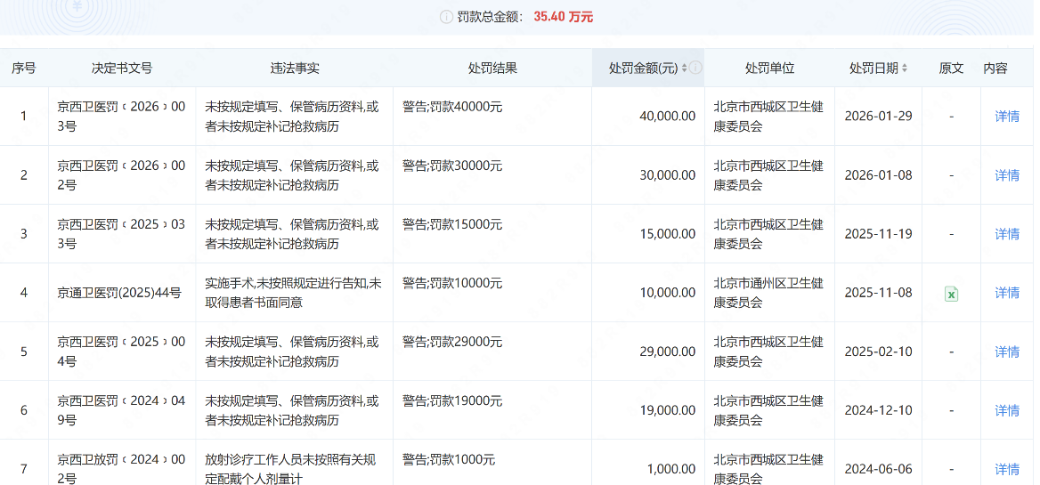
该医院部分行政处罚案件 (来源:企查查)

企查查平台信息显示,首都医科大学附属北京友谊医院曾经多次因未按规定填写、保管病历资料等问题,被北京市西城区卫生健康委员会依法处罚。(信网记者)

[来源:信网 编辑:陆云琦]
信网版权稿件,转载请获取授权(邮箱:news@qdxin.cn,或微信联系总法律顾问:lawyer4xin)。
精彩美图 更多 >>
2026 02/10 10:53
· 来源 ·
信网
· 责编 ·
陆云琦
阅读量
扫描到手机
用手机或平板电脑的二维码应用拍下左侧二维码,可以在手机继续阅读。

青岛话题 更多 >>

深度报道 更多 >>

大家爱看

信网手机版

信网小程序

青岛网上辟谣平台

AI调解员

鲁ICP备14028146号-1 互联网新闻信息服务许可证:37120180021 增值电信:鲁B2-20180061 鲁公网安备:37020202000005号
手机版 | 媒体资源 | 信网传播力 | 关于信网 | 广告服务 | 人才招聘 | 联系我们 | 版权声明| 违法和不良信息举报