搜索
信网手机版移动继续看新闻

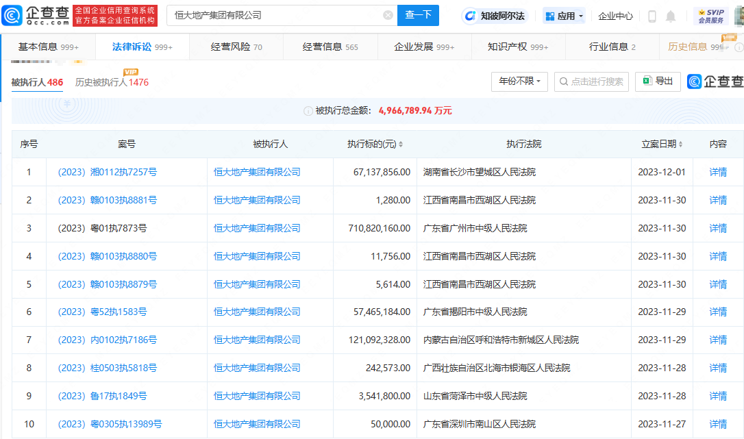
恒大地产再被强制执行9.6亿元 被执行总金额近500亿元

信网12月5日讯 企查查显示,近日,恒大地产集团有限公司新增11则被执行人信息,执行标的合计9.6亿余元,涉及合同纠纷、票据纠纷等案件,部分案件被执行人还包括恒大地产旗下恒大地产集团武汉有限公司、南昌中电投高新置业有限公司、恒大地产集团济南置业有限公司等,执行法院包括长沙市望城区人民法院、广州市中级人民法院、南昌市西湖区人民法院等。

企查查风险信息显示,恒大地产集团有限公司存在480余条被执行人信息,被执行总金额近500亿元,此外还存在多条限制消费令、失信被执行人信息。(信网记者)

 (来源:企查查)
[来源:信网 编辑:陈烛光]
信网版权稿件,转载请获取授权(邮箱:news@qdxin.cn,或微信联系总法律顾问:lawyer4xin)。
精彩美图 更多 >>
2023 12/05 10:41
· 来源 ·
信网
· 责编 ·
陈烛光
阅读量
扫描到手机
用手机或平板电脑的二维码应用拍下左侧二维码,可以在手机继续阅读。

青岛话题 更多 >>

深度报道 更多 >>

大家爱看

信网手机版

信网小程序

青岛网上辟谣平台

AI调解员

Copyright © 2014-2025 信网 All rights reserved. 鲁ICP备14028146号-1 互联网新闻信息服务许可证:37120180021 增值电信:鲁B2-20180061 鲁公网安备:37020202000005号
手机版 | 媒体资源 | 信网传播力 | 关于信网 | 广告服务 | 人才招聘 | 联系我们 | 版权声明| 违法和不良信息举报